计数方法上海空气中检测出病毒的医院:通过显微镜或自动菌落计数仪统计菌落数量上海空气中检测出病毒的医院,结合采样体积计算单位空气中的活微生物数(CFU/m3)。目标微生物:当前技术无法培养所有微生物(如立克次体、病毒需活细胞培养)上海空气中检测出病毒的医院 ,因此检测以细菌和真菌为主 。结果分析与应用洁净度评定:通过菌落数判定洁净室(区)的洁净等级,符合ISO 14644等标准要求。
医院对空气中微生物的监测通常采用空气培养法。具体方法是,使用经过严格消毒灭菌的直径为9CM的营养琼脂平板 ,在指定位置打开并暴露于空气中一定时间后,将培养器皿封闭,放入培养箱内培养 。一般经过48小时后 ,观察是否有菌落生长。
空气微生物检测的采样方法主要有撞击法 、滤膜法、自然沉降法、液体撞击法和静电吸附法等。撞击法利用气流高速冲击,使空气中的微生物颗粒因惯性撞落在固体培养基上,如Andersen六级采样器就属于此类 ,能进行定量分析 。
室内空气中菌落总数的检测方法主要包括以下几种: 沉降法 原理:将盛有培养基的平皿放置在室内空气中暴露一定时间,让空气中的微生物沉降在培养基上,经过培养后计数所生长的菌落数。

〖壹〗 、上海返乡人员爆出阳性 ,可能是在上海感染、在途中感染,或因检测标准不一致导致。 具体分析如下上海空气中检测出病毒的医院:在上海感染 感染后未及时检出:上海疫情下降过程中,可能存在部分感染者处于感染初期,病毒载量较低 ,尚未达到上海当时检测标准下的阳性判定阈值,核酸检测结果为阴性 。
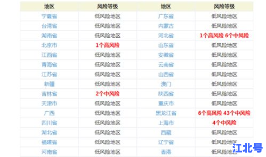
〖贰〗、上海“类解封”后疫情反弹,是各地采取严格隔离措施的直接原因社会面散发病例持续出现:6月1日至6月6日 ,上海社会面(非封控区)新增16例散发病例,6月6日单日新增3例社会面阳性感染者,3地被列为中风险地区。
〖叁〗 、他们来的地方是否有疾病病历 ,上海空气中检测出病毒的医院我们都不知道,或者是说他经过的地方是否他已经感染,而核酸检测却没有更新她继续接触其他人群 ,而导致其他人群传播疾病,这些都很难预料,所以就会导致返乡人员出现核酸检测阳性。
〖肆〗、上海一位人员在已知自己阳性的情况下仍坐动车返乡 ,这一举动曝光了他对社会的不负责,同时也曝光了有关部门在检查的时候确实没有做到位 。这个男子是在3月15日来到上海的,他来到这里是为了帮助桐乡贩卖蚕豆。
〖壹〗、存活时间:美国国家过敏和传染病研究所(NIAID)的研究显示,新冠病毒在气溶胶中可存活至少3小时 ,3小时后病毒滴度从10^5降至10^7 TCID50/mL,表明其仍具有感染能力。
〖贰〗、在室温(约20℃) 、相对湿度40%-50%的环境中,新冠病毒在物体表面(如塑料、不锈钢)可存活数天 ,最长可达9天,但在空气中因沉降等因素,病毒颗粒活性会快速降低 ,通常数小时内传染性显著减弱。若环境湿度较高,病毒存活时间可能延长;而干燥环境会加速病毒失活 。
〖叁〗、美国科研团队论文显示,在21 - 23°温度 、相对湿度40% - 65%环境下 ,新冠病毒在金属(钢铁)表面可存活10 - 16小时,在塑料表面可存活13 - 19小时,并非2 - 3天 ,不过在特定条件下病毒活性可维持数天,存在一定传播风险。
〖壹〗、医院病房空气中可以检测到SARS-CoV-2,这一结论已被相关研究证实。具体依据如下:研究背景与目的2020年2月28日,吉林大学第一医院在medRxiv平台上传了一项研究 ,旨在通过检测医院内引导站、发热门诊 、隔离区等区域的空气和表面样本,评估环境中的病毒分布情况,为感染防控提供依据 。
〖贰〗、例如 ,在ICU和普通病房中,研究者通过采集潜在污染物体的拭子样本及空气出口拭子样本,检测出SARS-CoV-2气溶胶阳性结果 ,直接证实了气溶胶暴露风险的存在。医院场景下的气溶胶传播风险医院作为高风险场所,气溶胶传播风险尤为突出。
〖叁〗、同样的,对于COVID-19在医院穿脱防护服的房间 ,还是在医院隔离区周围的空气样本中都可以检测到COVID-19-RNA 。这几项数据说明COVID-19还是SARS-CoV-2,都有经气溶胶传播的可能性。
〖肆〗 、初步研究显示,SARS-CoV-2病毒在暴露于空气后五分钟内传染性开始下降 ,20分钟后传染性降低约90%,这一发现强调了口罩在阻断病毒传播中的关键作用。研究背景与核心发现英国布里斯托大学的研究团队通过模拟实验发现,SARS-CoV-2病毒在脱离宿主进入空气后,其传染性会随时间显著衰减 。
夏天对呼吸病人确实更危险 ,湿热环境、脱水黏膜、密闭空调房等因素会引发多种危机偷袭呼吸道。 具体如下:湿热环境:当气温超过26℃ 、湿度高于60%时,空气中的曲霉菌孢子浓度可飙升至冬季的3倍。经检测,82%的哮喘急性发作与室内霉菌暴露有关 。
综上所述 ,该病人出现的危机值是由于严重的二氧化碳潴留导致的。通过及时的无创呼吸机辅助通气治疗,病人的情况得到了初步控制。然而,后续的治疗和监测仍然非常重要 ,以确保病情的稳定和好转。同时,患者和家属也应该加强对慢阻肺及其并发症的了解和管理 。
近日,世卫组织(WHO)更新了最危险的病原体名单 ,其中甲型流感病毒等呼吸道病毒赫然在列。这一消息引发了全球对呼吸道疾病防控的关注,同时也推动了呼吸道检测产品的市场需求增长。然而,尽管市场前景广阔 ,但呼吸道检测产品的注册却面临诸多难题 。
引发呼吸道不适:空调吹出的带有异味的风,其中可能含有大量细菌、霉菌等微生物。人吸入这些被污染的空气后,容易引发呼吸道不适,比如像小王家孩子时不时打喷嚏 ,可能就是吸入异味空气导致的。
〖壹〗、检测外环境病毒口罩的实用性分析技术优势:上海同济大学科学家开发的新型口罩具有创新性,其传感器能在10分钟内检测空气中的新型冠状病毒和H5NH1N1型流感病毒,还能发送通知 。
〖贰〗、可能存在的危害影响特定人群健康:对于过敏性鼻炎或过敏性哮喘患者 ,若对“液体口罩 ”里的物质过敏,使用后不仅无法起到防护作用,反而会影响自身健康 ,加重病情。残留成分影响不明:目前尚无系统评估“液体口罩”残留成分是否会影响鼻黏膜健康,以及是否会影响鼻用激素 、鼻用抗过敏药等其他药物的使用疗效。
〖叁〗、例如,人体呼吸道的环境、病毒的传播方式 、个体的免疫状态等因素都会影响防护效果 ,所以体外实验的结果不能直接证明“液体口罩”在临床上的有效性 。专家建议与使用定位专家表示,“液体口罩 ”可作为“辅助型日用品”,但不能当作主要的防护品。
〖肆〗、但人体真实环境与体外实验、小规模研究的环境存在很大差异 ,这就导致其实际防护效果难以得到保证。宣传夸张不可信:市场上一些“液体口罩”宣称“99%阻隔病毒 ”,这种宣传明显过于夸张,甚至涉嫌虚假宣传 。